Elastomer-Free Ultra-Pure Pressure Regulator
Series UPR

Features/Benefits:
- Kynar PVDF or PTFE body; no wetted metals or elastomers
- TFM convoluted diaphragm for maximum sensitivity without elastomers
- Spigots, threaded or flare connections
- Maximum flow performance with minimal drop-off from set pressure
- Maximum inlet pressure 150 PSI
- Downstream pressure range 5 - 100 PSI
Photos and illustrations are representative. Actual appearance may vary based on size and materials.
Design:
The valve is constructed with no wetted metals or elastomers. The metal component (1-spring) is stainless steel and is isolated by an impervious barrier seal. Pressure is set by turning a plastic bolt to change the spring rate. Attachment to process is by fused bead-and-crevice-free Kynar PVDF spigots. Spigots are available to match any high purity pipe supplier.
Series UPR is a normally-open valve designed to reduce the inlet pressure to a pre-determined lower pressure downstream. Maximum inlet pressure is 150 PSI. When outlet pressure is at or below set pressure, the valve is fully open. As outlet pressure approaches the set pressure, the valve will begin to close.
Outlet pressure is applied via the TFM diaphragm against the non-wetted stainless steel spring. (TFM is a thermoplastic material. "Teflon," for example, is a brand name that markets TFM material) As downstream pressure rises, it forces the spring to compress and pulls the valve shaft up against the main orifice in the valve. This reduces the size of the opening and reduces pressure. When downstream pressure decreases, the spring is decompressed and forces the shaft away from the orifice, increasing the size of the opening and allowing pressure to rise to the set point. The spring is designed to "balance" the valve against downstream pressure.
Minimum Flow Requirement:
Because Series UPR is designed for ultra-pure liquids, it will not close completely under any conditions. If the pipeline remains in a no-flow condition for any period of time, outlet pressure will ultimately rise to match the inlet pressure as pressure equalizes through the main orifice. Please refer to the minimum flow requirement in the table below.
If the application requires a mechanism for positive shutoff, Series UPR can be installed in conjunction with air-operated shut-off valve Series BSDA upstream. Alternatively, Series PRH-U is a high-purity pressure reducing valve that offers positive shut-off. Series UPR may also be ordered with positive shut-off, however, that version requires use of elastomers and you may determine that the flow performance of PRH-U is advantageous for a valve that will close when required. Consult factory.
Additional Considerations:
• Keep in mind that a pressure regulator cannot increase pressure. If upstream pressure drops below the set point, downstream pressure will also...a pressure regulator does not function like a pump.
• Pressure regulators will not function as backpressure regulators. Pressure regulators are normally-open valves that are used to prevent downstream pressure from exceeding a predetermined set point. In some applications this is known as forward pressure control. It is also commonly known as a pressure reducing valve. A "backpressure" regulator, on the other hand, is a normally-closed valve that controls pressure upstream, or "behind" the valve. For information on an ultra-pure backpressure regulator, refer to the PTFE version of Series RVDT.
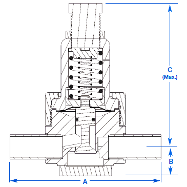
Dimensions & Ordering Information:

|
Dimensions
|
Series UPR Pipe Size (Spigot) |
A |
B |
C |
Model Number |
| IN. |
mm |
IN. |
mm |
IN. |
mm |
| 1/4" |
2.08* |
52.8* |
0.89 |
22.6 |
4.9 |
125.1 |
UPR025T-PF-X* |
| 1/2" (20 mm) |
7 |
178 |
1 1/4 |
32 |
6 11/16 |
170 |
UPR050T-PF-X |
| 3/4" (25 mm) |
7 7/8 |
200 |
1 3/8 |
35 |
7 1/2 |
191 |
UPR075T-PF-X |
| 1" (32 mm) |
8 5/32 |
208 |
1 1/2 |
39 |
9 1/16 |
233 |
UPR100T-PF-X |
| 1 1/2" (50 mm) |
9 31/32 |
254 |
2 9/16 |
65 |
12 3/16 |
310 |
UPR150T-PF-X |
| 2" (63 mm) |
11 |
280 |
3 3/8 |
83 |
9 15/16 |
252 |
UPR200T-PF-X |
UPR(series) 050(size) T(seal material) - PF(body material) - X(connection type)
Series Prefix: UPR: 5-100 PSI set range.
Materials: PF=Kynar PVDF; TF=PTFE. PTFE versions include non-wetted PVDF parts and PFA flare fittings when specified. Some non-wetted parts on all versions can be specified in ABS to reduce costs; please consult factory.
Connection Suffix: Spigot: SP1=Asahi spigot, SP2=GF; Threaded: -NPT, -BSP, -JIS; Flare: -FR and specify tube O.D.
* 1/4" Valve is offered only with threaded connections or flare fittings. "A" Dimension shown is for threaded body. "A" Dimension with flare fittings is 5" / 127mm. 1/4" valve has external nylon lock nut and adjusting screw.
For shut-off design, please consult factory.
For 3/8" sizes, please consult factory.
|
Minimum Flow & Performance Curves:
UPR Minimum Flow Requirement
|
| Pipe Size (Spigot) |
Minimum Flow |
| 1/4" |
0.2 GPM |
| 1/2" (20 mm) |
0.3 GPM |
| 3/4" (25 mm) |
0.5 GPM |
| 1" (32 mm) |
0.75 GPM |
| 1 1/2" (32 mm) |
1.3 GPM |
| 2" (63 mm) |
1.8 GPM |
UPR 1/4" Performance Curve
Tests performed with city water 70 PSI inlet @ 75ºF. with test regulators set at 35 psi outlet.

UPR 1/2" Performance Curve
Tests performed with city water 70 PSI inlet @ 75ºF. with test regulators set at 35 psi outlet.

UPR 3/4" Performance Curve
Tests performed with city water 70 PSI inlet @ 75ºF. with test regulators set at 35 psi outlet.

UPR 1" Performance Curve
Tests performed with city water 70 PSI inlet @ 75ºF. with test regulators set at 35 psi outlet.

UPR 1.5" Performance Curve
Tests performed with city water 70 PSI inlet @ 75ºF. with test regulators set at 35 psi outlet.

UPR 2" Performance Curve
Tests performed with city water 70 PSI inlet @ 75ºF. with test regulators set at 35 psi outlet.

UPR Pressure & Temperature Derating Charts




CAD Files
Please contact our Technical Group, 973-256-3000 for CAD drawings in your desired format.